EDI模块损坏如何维修?
发布日期:2023-08-25 10:41:20 文章编辑:反渗透纯水设备|纯水设备|超纯水设备|去离子设备-东莞市杰邦水处理有限公司 阅读量: 729
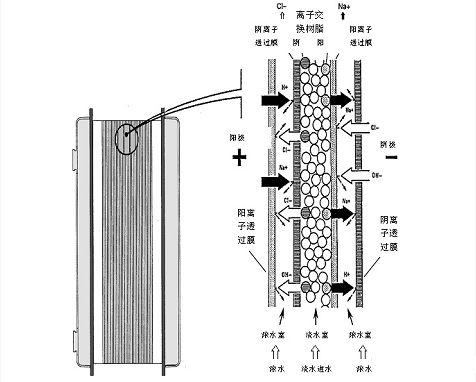
1、EDI膜块长期在大电流,小流量运行,积聚的热量得不到散发,造成EDI接近两极的膜片发热变形,EDI浓水压差增大,水质和水量都不同程度的下降。
2、EDI膜块长期没有清洗保养.EDI的膜片和通道结钙镁垢,进出水压差增大,造成产水水质下降,电压上升,电流无法调节, 终无法使用。
3、EDI膜块长期没有清洗保养或长期停机没有保护,EDI的膜片和通道滋生有机物,进出水压差增大,造成产水水质下降,电压上升,电流无法调节, 终无法使用。
4、采用不合理的清洗,直接导致EDI树脂损坏和破碎,进出水压差增大,造成产水水质和水量全部下降。
5、EDI系统手动运行时,在缺水状态下加电,直接导致膜片和树脂的发热碳化.清洗无效,无法使用。
6、EDI进水前无保安滤器,直接导致异物堵塞EDI通道,进出水压差增大,造成产水水量严重下降,清洗无效.以及前处理不佳(软化器,亚硫酸添加系统,RO等)、控制系统故障/失灵(安全联锁装置,低流量保护的问题)不适当的系统设计(RO初期产水未排放)等。
7、电流电压超出额定值或人为误操作。
8、系统维护管理不当,没有遵守EDI的使用条件。
二、EDI模块维修方法:
1、根据用户的数据和描述,制订维修初步方案。
2、膜块到厂后先上机检测和清洗,如有必要进行拆解检查,更换内部损坏的部件,包括极板,阴阳离子膜片,树脂,隔板,接头线,密封圈等损坏的材料。
3、维修完成后重新测试,48小时测试合格后出厂。
4、根据维修情况,协助客户优化目前设备工艺和运行中存在的问题。
5、可以提供专用的清洗剂和完整的清洗保养维护方案。



0769-21203451